User manual

14
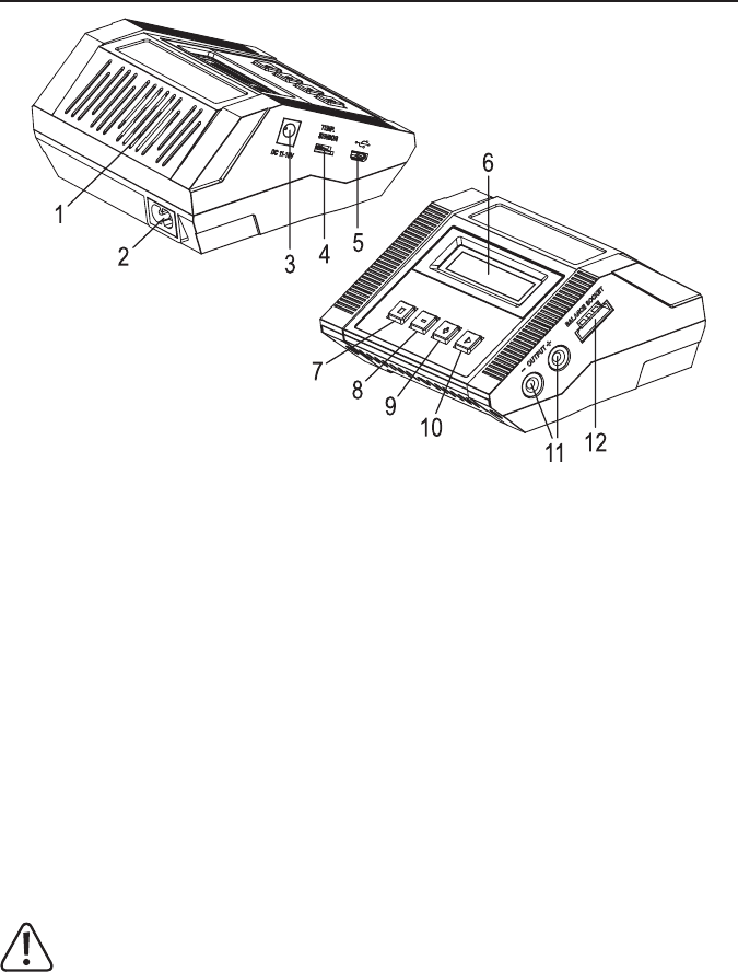
8. Éléments de commande
1 Ventilateur
2 Prise secteur pour le raccordement du chargeur à la tension secteur
3 Entrée de tension continue (11 - 18 V/CC, stabilisée), ex. : pour le raccordement à une batterie de voiture au
plomb externe
4 Prise pour capteur de température externe (non fourni, commandable séparément)
5 Douille micro USB (seulement la mise à niveau de micro-logiciel pour de la part du fabricant)
6 Écran à cristaux liquides éclairé
7 Touche « STOP » : Sélectionner le programme de batterie dans le menu principal, retourner à un sous-menu,
arrêter la charge, annulation
8 Touche « – » : Sélectionner le programme dans le menu principal, saisie de valeurs (réduire la valeur), sélection
dumenu(retour)etafchagedediversesdonnéespendantuneopérationdecharge/décharge
9 Touche«+»:Saisiedevaleurs(augmenterlavaleur),lasélectiondumenu(suivant),l’afchagedesvaleursde
tension des différentes cellules lors de la charge des batteries au lithium avec prise de répartiteur
10 Touche«START»:Démarrer/poursuivrelacharge,conrmationd'unefonctiond'arrêt/decommande
11 Prises rondes (4 mm) pour le raccordement de la batterie (rouge = plus / +, noir = moins / -)
12 Port du répartiteur pour le raccordement du panneau du répartiteur fourni
Utilisez le chargeur avec le raccordement de la tension secteur (2) ou avec l'entrée de tension continue (3).
N´utilisez jamais simultanément les deux entrées. Cela peut endommager le chargeur.










