Installation Instructions

21
UNILUX-6 270 Left/Right
Installatievoorschrift
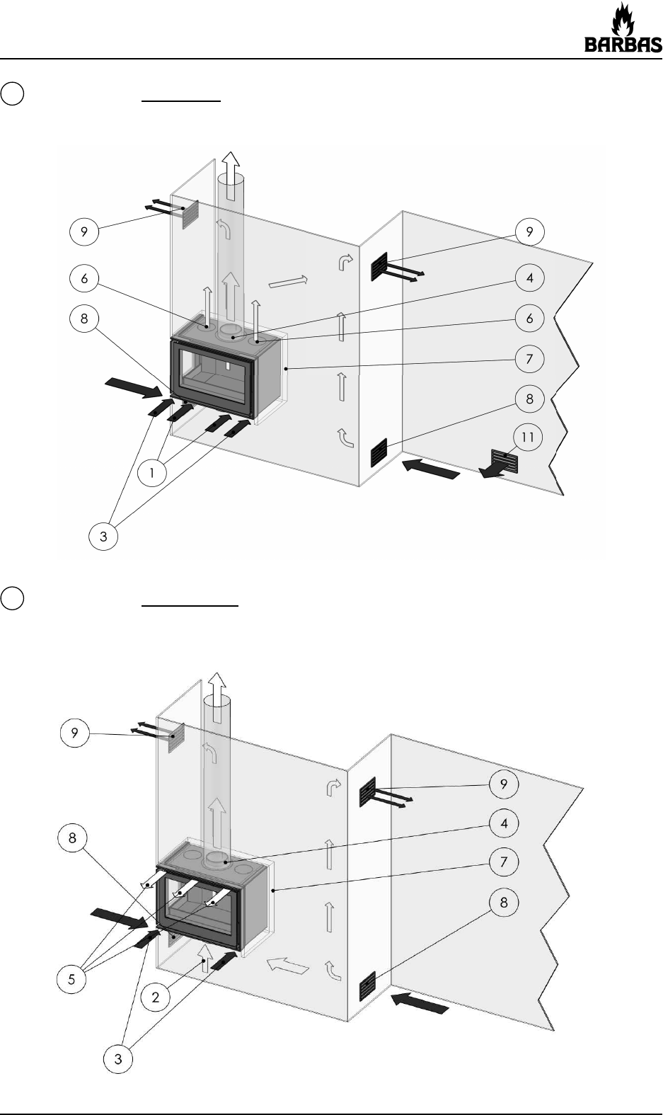
I C Toestel als inzethaard in een bestaande schouw.
Convectielucht via het schouwlichaam. Voorzien van ventilatie van de schouw.
II A Toestel als inbouwhaard in een bestaande of nieuwe schouw.
Voorzien van ventilatie van de schouw.
Externe luchttoevoer via onderzijde of achterzijde.
Legenda pagina 23