Product Manual

Page 13 of 23
4. Place thecrane on a solid, level surface, capable of supporting the weight of the crane and a
load.
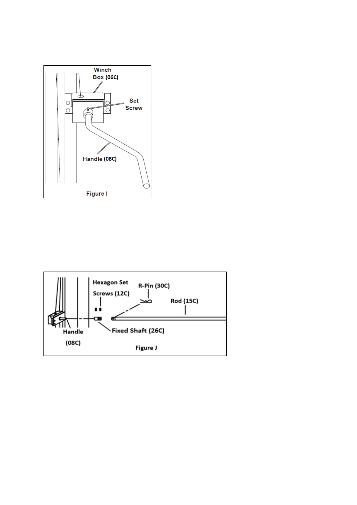
Attaching the Rod
1. Insert theleft fixed shaft (26C) into theleft handle’s (08C) other side, using the hexagon set
screws (12C).
2. Connect the rod (15C) with the left fixed shaft (26C), using the R-pin (30C).
3. Repeat for the right fixedshaft and rod.