User's Manual
Table Of Contents
- New in this release
- Nortel DECT Messenger Administrator Guide
- Preface
- Nortel DECT Messenger overview
- eCONFIG
- Adding a DECT device to the Messenger system
- DECT Messenger Customer Engineer Manual
- Preface
- DECT Messenger overview
- DECT Messenger in a WAN or MAN network
- Licensing
- Detailed module descriptions
- What is required to run DECT Messenger
- DATABASES in DECT Messenger
- Installing and getting started
- Using eCONFIG
- Using eTM
- eDMSAPI Inbound
- eLOCATION
- Connecting National Instruments modules
- Understanding Security features
- Using eBackup
- Setting up e-mail integration (eSMTP_Server/eSMTP)
- Using eSMTP Server
- Using eSMTP
- Sending SMS messages
- V.24 - RS232 connections (eCAP, eESPA)
- Using Import/Export menu
- eLOG
- Checking diagnostics

Licensing 73
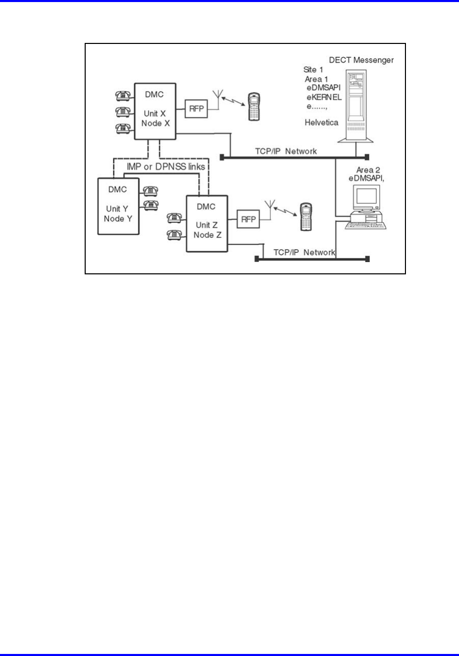
Figure 14
DECT Messenger in a multiunit or multinode environment
Figure 14 "DECT Messenger in a multiunit or multinode environment"
(page 73) shows a multiunit or multinode network. DECT Messenger must
be able to send messages to DECT handsets in Unit X/Node X and Unit
Z/Node Z. On the DECT Messenger computer (Area 1), the eKERNEL is
running with other modules and an eDMSAPI to send messages to Unit
X/Node X. The second computer (Area 2) provides messaging to Unit
Z/Node Z. DECT Messenger contains a table that provides data about the
location of the DECT handsets. If there is a message for a DECT handset
in Unit Z/Node Z, the message is transferred first to the Area 2 computer,
and then to Unit Z/Node Z.
Licensing
Licensing is done by means of the following mechanisms.
• CSTA Connection licenses in the ISPBX. See “CSTA connection (link)
license” (page 73).
• DECT Messenger License Manager. See Figure 15 "DECT Messenger
License Manager" (page 75).
• DECT Messenger CTI Licenses (for each DECT system). See
“SOPHO CTI module License Manager licenses” (page 76).
CSTA connection (link) license
Each application connected to the DMC through CSTA is licensed
through one or more application license and seat license. For Nortel
DECT Messenger 4.0, the number of application licenses depends on the
configuration.
Nortel Communication Server 1000
DECT Messenger Fundamentals
NN43120-120 01.06
17 October 2008
Copyright © 2003–2008 Nortel Networks
.










