User's Manual
Table Of Contents
- New in this release
- Nortel DECT Messenger Administrator Guide
- Preface
- Nortel DECT Messenger overview
- eCONFIG
- Adding a DECT device to the Messenger system
- DECT Messenger Customer Engineer Manual
- Preface
- DECT Messenger overview
- DECT Messenger in a WAN or MAN network
- Licensing
- Detailed module descriptions
- What is required to run DECT Messenger
- DATABASES in DECT Messenger
- Installing and getting started
- Using eCONFIG
- Using eTM
- eDMSAPI Inbound
- eLOCATION
- Connecting National Instruments modules
- Understanding Security features
- Using eBackup
- Setting up e-mail integration (eSMTP_Server/eSMTP)
- Using eSMTP Server
- Using eSMTP
- Sending SMS messages
- V.24 - RS232 connections (eCAP, eESPA)
- Using Import/Export menu
- eLOG
- Checking diagnostics

Using eSMTP Server 143
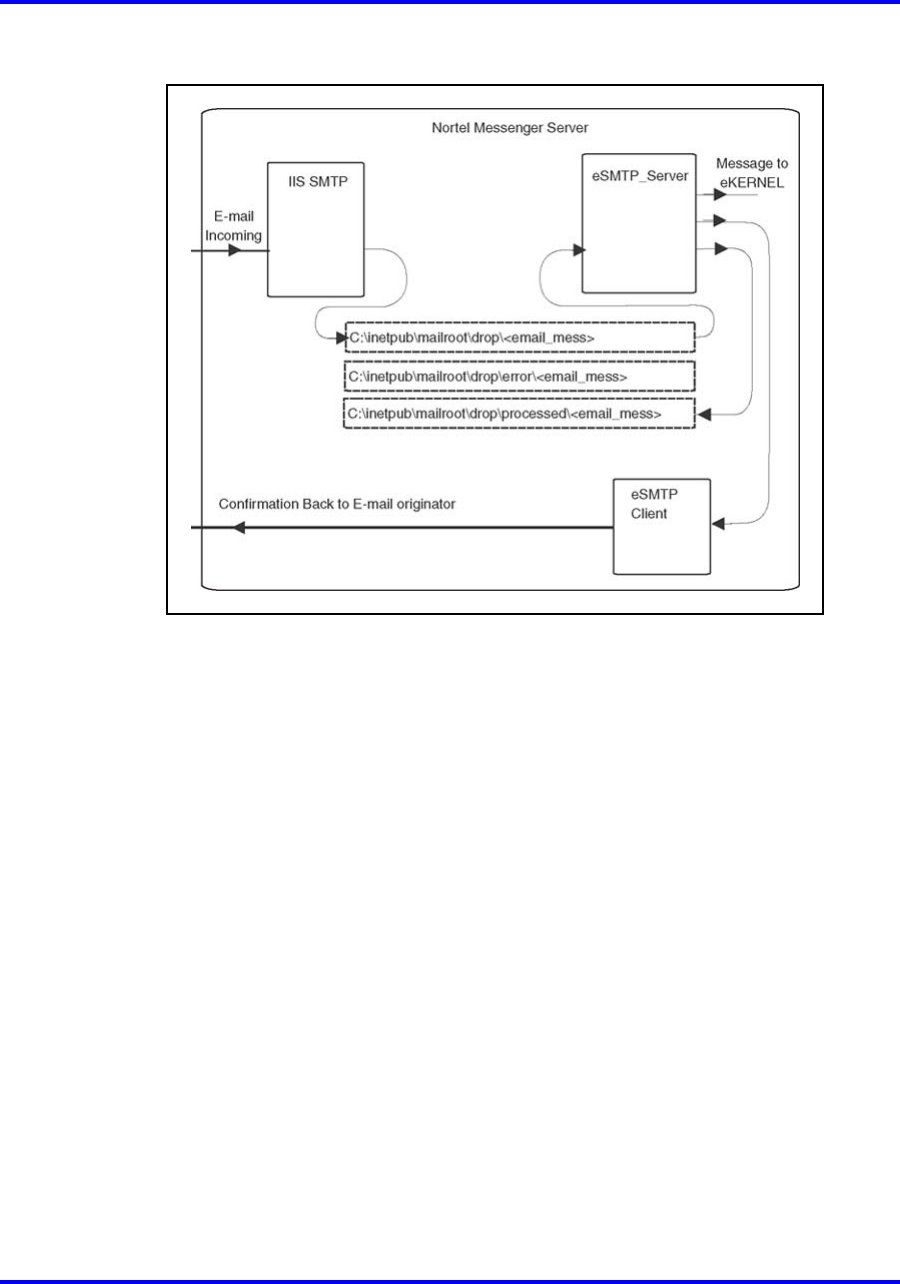
Figure 43
e-mail handling in DECT Messenger
After an e-mail is sent from the e-mail client to DECT Messenger, the
e-mail generally goes through an e-mail provider (through a server). In
this e-mail Server, relaying must be switched on, otherwise the e-mail is
not transferred to DECT Messenger. Also, the e-mail Server must know
to which PC the e-mail message is to be sent. Therefore, a DNS Server
must be assigned in the e-mail Server, and within that DNS server, an MX
record must define the relation to the DNS name of the DECT Messenger
PC.
After an e-mail is sent to DECT Messenger, the message arrives at the
IIS SMTP server. The IIS SMTP Server stores the mail message as a file
in a specified directory on the hard disk. This directory is the interface
between IIS and the eSMTP_Server software. The eSMTP_Server checks
the contents of this directory every 10 seconds. If there is a mail message,
eSMTP_Server loads and analyses it as follows:
• The e-mail address on DECT Messenger (for example,
1010@messenger5.com) is the message destination (a Group in the
DECT Messenger configuration).
• The subject of the e-mail message is the message that is sent.
• The originator’s e-mail address is the address to which the confirmation
message is sent using the eSMTP client.
Nortel Communication Server 1000
DECT Messenger Fundamentals
NN43120-120 01.06
17 October 2008
Copyright © 2003–2008 Nortel Networks
.










