User's Manual
Table Of Contents
- New in this release
- Nortel DECT Messenger Administrator Guide
- Preface
- Nortel DECT Messenger overview
- eCONFIG
- Adding a DECT device to the Messenger system
- DECT Messenger Customer Engineer Manual
- Preface
- DECT Messenger overview
- DECT Messenger in a WAN or MAN network
- Licensing
- Detailed module descriptions
- What is required to run DECT Messenger
- DATABASES in DECT Messenger
- Installing and getting started
- Using eCONFIG
- Using eTM
- eDMSAPI Inbound
- eLOCATION
- Connecting National Instruments modules
- Understanding Security features
- Using eBackup
- Setting up e-mail integration (eSMTP_Server/eSMTP)
- Using eSMTP Server
- Using eSMTP
- Sending SMS messages
- V.24 - RS232 connections (eCAP, eESPA)
- Using Import/Export menu
- eLOG
- Checking diagnostics

Understanding Security features 133
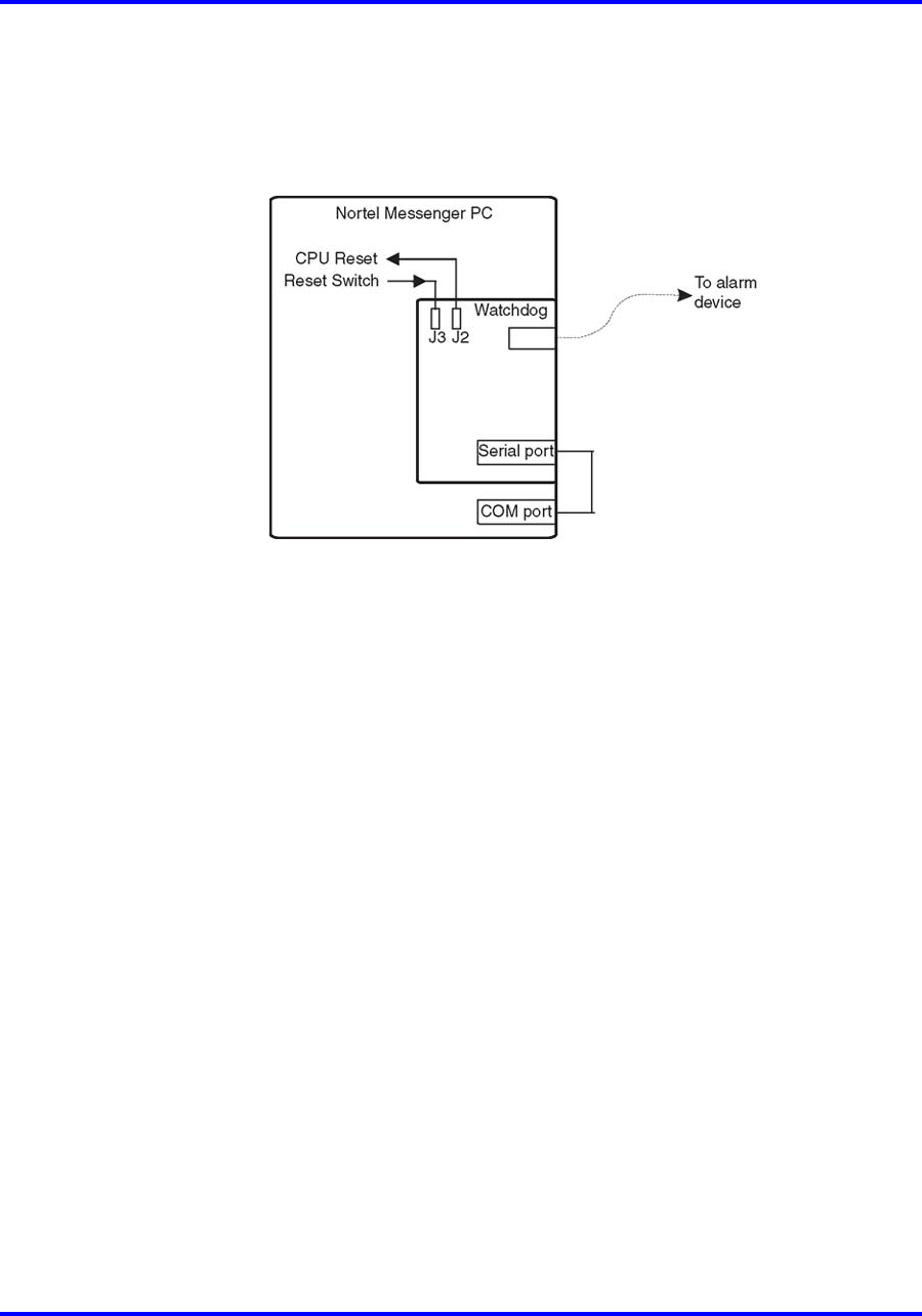
• Disconnect the PC reset cable from the motherboard.
• Plug the cable onto the J3 header in the upper left corner of
the Watchdog.
The PC Reset connections are as follows:
3 Attach the reset cable.
Plug the supplied reset cable onto J2 on the Watchdog board,
and plug the other end onto the original reset header on the
motherboard.
4 Install the Watchdog.
Install the Watchdog in a free slot/bracket position.
5 Connect the power.
Connect the power cable to the Watchdog card.
6 Connect the serial cable.
• Connect the DB-9S end of the serial cable to a free COM port
on the PC.
• Connect the other end of the cable (DB-9P) to the Serial
Input port on the Watchdog.
7 Open the Site configuration window.
Start the PC, and start the eCONFIG. In eCONFIG double-click
the Site menu:
Nortel Communication Server 1000
DECT Messenger Fundamentals
NN43120-120 01.06
17 October 2008
Copyright © 2003–2008 Nortel Networks
.










