User's Manual
Table Of Contents
- New in this release
- Nortel DECT Messenger Administrator Guide
- Preface
- Nortel DECT Messenger overview
- eCONFIG
- Adding a DECT device to the Messenger system
- DECT Messenger Customer Engineer Manual
- Preface
- DECT Messenger overview
- DECT Messenger in a WAN or MAN network
- Licensing
- Detailed module descriptions
- What is required to run DECT Messenger
- DATABASES in DECT Messenger
- Installing and getting started
- Using eCONFIG
- Using eTM
- eDMSAPI Inbound
- eLOCATION
- Connecting National Instruments modules
- Understanding Security features
- Using eBackup
- Setting up e-mail integration (eSMTP_Server/eSMTP)
- Using eSMTP Server
- Using eSMTP
- Sending SMS messages
- V.24 - RS232 connections (eCAP, eESPA)
- Using Import/Export menu
- eLOG
- Checking diagnostics

eDMSAPI Inbound 115
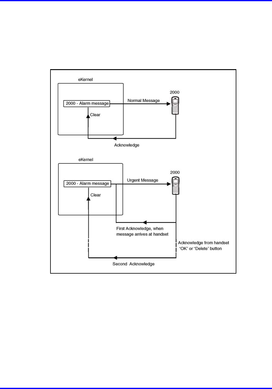
sent) the alarm call is cleared on this Acknowledge. If a message is
sent as an Urgent message, the alarm call is cleared after the second
Acknowledge arrives. After the user presses the
Delete or OK key on
the handset, the message call is acknowledged.
Figure 32
Acknowledge sequences for Normal and Urgent messages using DECT
handsets
For alarm handling, bear in mind the following when setting up the system:
• An alarm is set in a data table in the eKERNEL.
• Although the alarm is set in a table in the eKERNEL, the alarm is
always set on a Device.
• Because an alarm is set on a device, the alarm can only be reset on a
device.
• Resetting an alarm can be done from:
Nortel Communication Server 1000
DECT Messenger Fundamentals
NN43120-120 01.06
17 October 2008
Copyright © 2003–2008 Nortel Networks
.










