User's Manual
Table Of Contents
- New in this release
- Nortel DECT Messenger Administrator Guide
- Preface
- Nortel DECT Messenger overview
- eCONFIG
- Adding a DECT device to the Messenger system
- DECT Messenger Customer Engineer Manual
- Preface
- DECT Messenger overview
- DECT Messenger in a WAN or MAN network
- Licensing
- Detailed module descriptions
- What is required to run DECT Messenger
- DATABASES in DECT Messenger
- Installing and getting started
- Using eCONFIG
- Using eTM
- eDMSAPI Inbound
- eLOCATION
- Connecting National Instruments modules
- Understanding Security features
- Using eBackup
- Setting up e-mail integration (eSMTP_Server/eSMTP)
- Using eSMTP Server
- Using eSMTP
- Sending SMS messages
- V.24 - RS232 connections (eCAP, eESPA)
- Using Import/Export menu
- eLOG
- Checking diagnostics

114 DECT Messenger Customer Engineer Manual
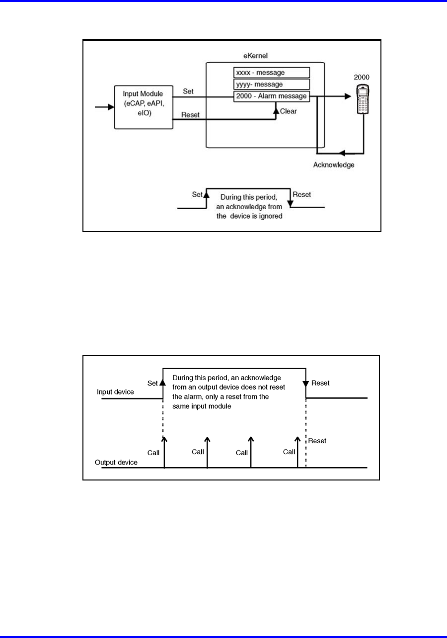
Figure 30
SET/RESET Alarm Structure
The input modules eCAP, eAPI, and eIO can generate a set/reset
command. (eIO set/reset is explained in more detail later on in this
document.) An acknowledgment from a device does not clear the
alarm condition on that device in the database. Therefore, even if the
call on the device is answered, the alarm is not reset. As long as the
eKERNEL does not receive a reset from the Input Module, the alarm
is repeated on the device with a time interval that you must have
specified in the eCONFIG.
Figure 31
Alarm processing
The way an alarm is processed in an LRMS (E2) DECT Handset depends
on the Acknowledge/Negative Acknowledge (ACK/NAK) structure, as
shown in Figure 31 "Alarm processing" (page 114).
• ACK/NAK
A message can be sent to an LRMS (E2) DECT handset as a Normal
message, or as an Urgent message. After a message is sent as a
Normal message, the DMC sends an Acknowledge at the moment
that the message arrives at the handset. No manual confirmation is
required. If the message was sent as a sent message (reset after
Nortel Communication Server 1000
DECT Messenger Fundamentals
NN43120-120 01.06
17 October 2008
Copyright © 2003–2008 Nortel Networks
.










