Specifications
Manuals
Brands
Atmos Manuals
Boiler
Multi 24/80
31
32
33
34
35
36
37
38
39
40
38
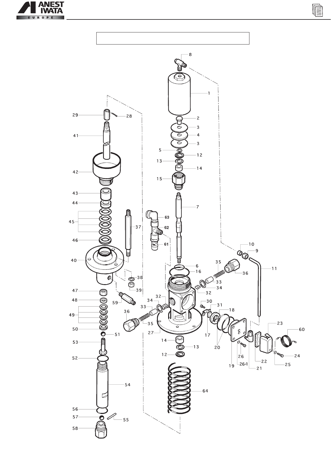
Plunger pump set type PP7131N
1
...
...
36
37
38
39
40
...
...
44