User manual

4
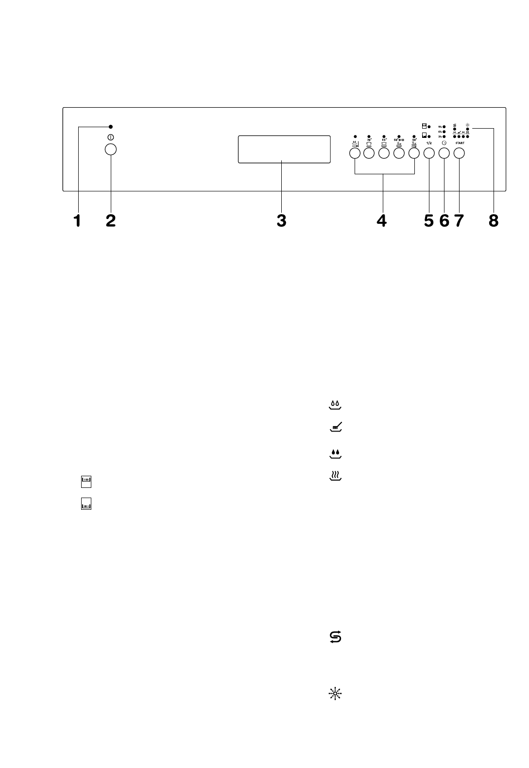
Het bedieningspaneel
1. Lampje "in bedrijf"
2. Aan/uit toets
3. Handgreep
4. Programmakeuze-toetsen
5. "Halve belading" toets
Door op deze toets te drukken wordt er
afgewassen in één inplaats van twee korven.
Het lampje geeft aan in welke korf.
bovenste korf
onderste korf
Deze manier van afwassen is zeer
economisch als u slechts afwas heeft voor
één korf.
Vergeet niet dat alle vaat in de geselecteerde
korf moet worden geplaatst.
Zijn beide lampjes uit, dan wordt in belde
korven afgewassen.
Bij het programma "Voorspoelen" is deze
keuzemogelijkheid automatisch
uitgesloten.
6. Uitgestelde start toets
Met deze toets kunt u de start van het
programma uitstellen met 3, 6, of 9 uren.
Bij het programma "Voorspoelen" is deze
keuzemogelijkheid automatisch
uitgesloten.
7. Start toets
Nadat u het programma heeft ingesteld en de
deur is gesloten moet alleen deze toets nog
worden ingedrukt.
Dan start het programma.
8. Controlelampjes
Ieder onderdeel van het programma is
aangegeven met een symbool:
voorspoelen
afwassen
naspoelen
drogen
Tijdens het kiezen van het programma brandt
de led van ieder programma gedeelte.
Wanneer het programma bezig is zijn alle leds
uit behalve die waar het programma mee
bezig is.
Wanneer het programma klaar is zijn alle
lampjes uit, behalve lampje in bedrijf.
8. Controlelampjes
Zout bijvullen
Brandt wanneer zout moet worden
bijgevuld.
Glansmiddel bijvullen
Brandt wanneer glansmiddel moet
worden bijgevuld.










