Specifications
Table Of Contents
- Table of Contents
- General Information
- Before You Start
- Installation Steps
- Connecting Speakers
- Powering Up System
- Self-Powered Controller Connections
- Controller to Generic Amplifier
- Controller to Amplified Speakers
- Controller to PagePac 20
- Controller to AmpliCenter 100
- Controller to D-Series AmpliCenter
- Troubleshooting
- Controller Specifications
- Controls and Indicators, Terminals and Connector
- Connectivity Chart
- Programming the Controller
- General Zone and Zone Group Configurations
- Output Zone/Group Configurations
- Input Zone / Group Options
- Error Tones
- Programming Quick Reference Chart
- Zone Map and Zone Configuration Tables
- Application Notes

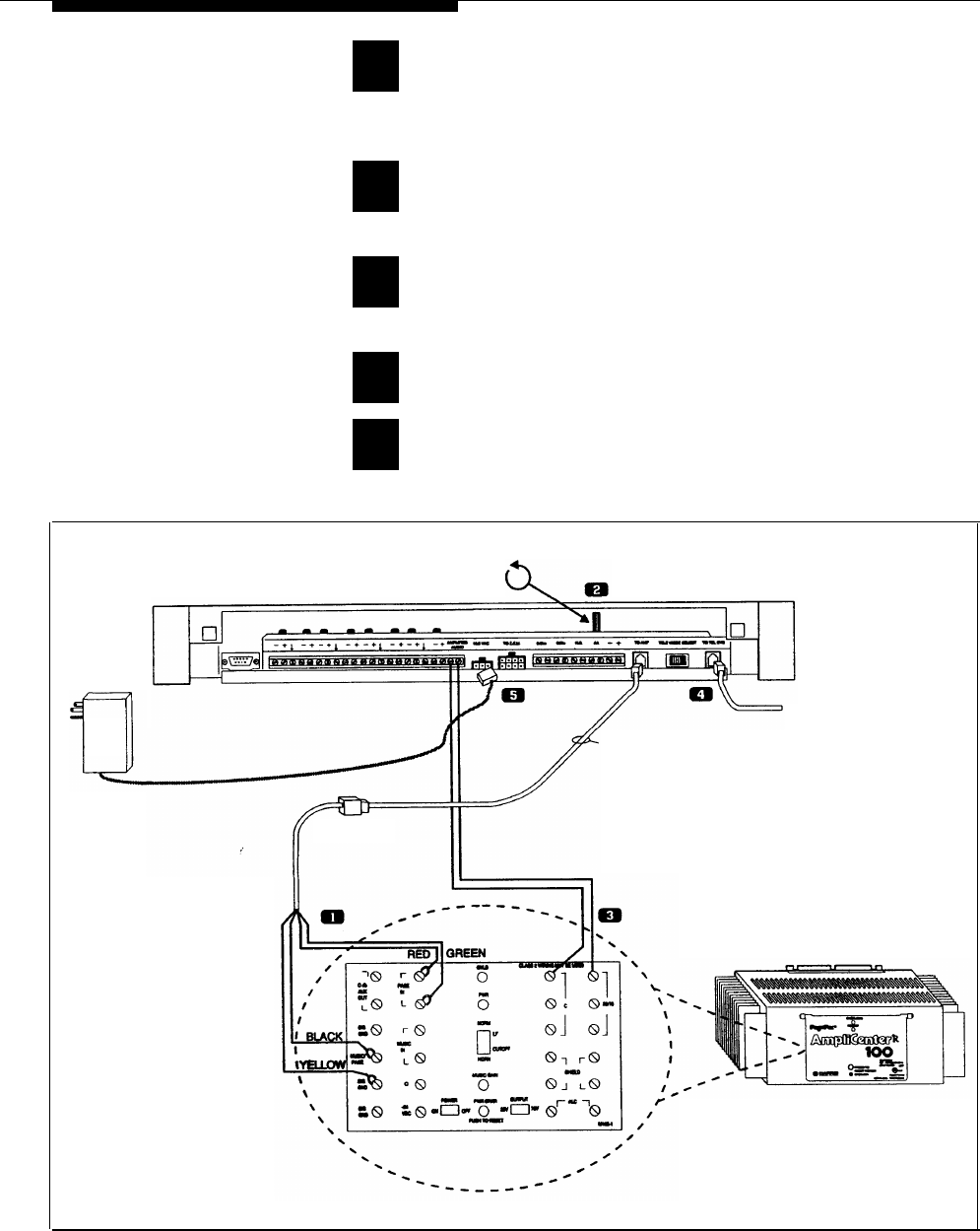
Controller to AmpliCenter 100
Connect the modular to spade lug connector from
Controller (To Amp) to amplifier Page In (red and
green), and to Music/Page (black and yellow) control.
1
2
3
4
5
Adjust Controller volume to counter clockwise
position.
Connect 70V audio out from amplifier to Controller
Amplified Audio terminals.
Connect host telephone system input to Controller.
Plug power pack connector into Controller
ADJUST OUTPUT VOLUME CONTROL
TO FULL COUNTER CLOCKWISE
SELF-POWERED
CONTROLLER
16.5 VAC
POWER
MODULE
TO HOST
TELEPHONE SYSTEM
6-CONDUCTOR
CORD
MODULAR TO
SPADE LUG CABLE
LIFT FRONT PANEL
TO ACCESS AMPLIFIER
CONNECTORS
Figure 21. Self-powered Controller Connected to the PagePac AmpIiCenter 50, 100, or 200
18