Tl7610 Dect 6 Cordless Headset Manual

2
Getting started
Quick reference guide - headset
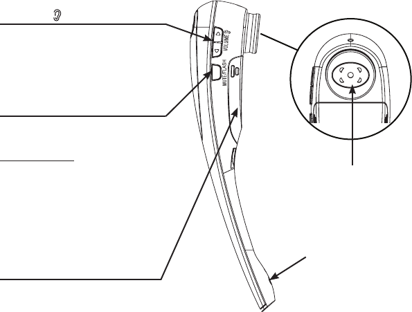
VOLUME /
+
-
Press the volume keys on the
side of the headset to adjust the
listening volume when on a call
(page 32).
MUTE/FLASH
Press to mute the microphone
during a call (page 35).
Press and hold to answer a call
waiting call while on a call
(page 32).
Press to mute the ring tone in
the earpiece when there is an
incoming call.
Battery compartment cover
Remove to install or replace
the battery (page 8).
Earpiece
Microphone