Installation Guide
Manuals
Brands
Armarkat Manuals
Animal & Pet Care
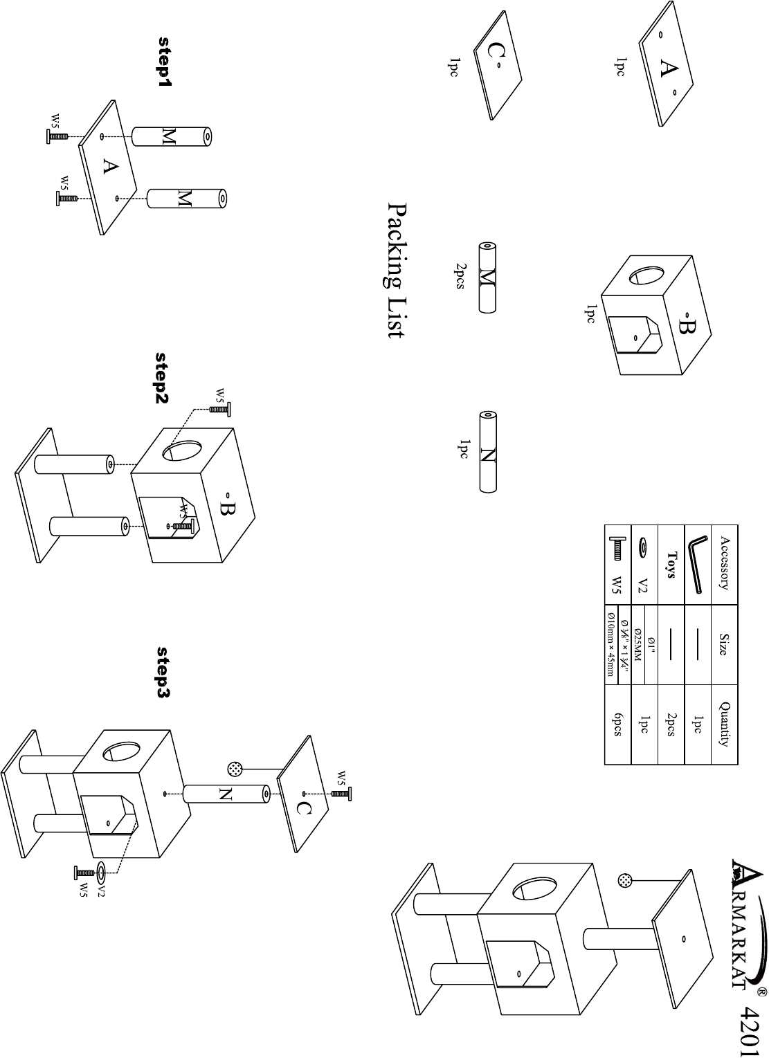
42-in Brown Faux Fur Cat Tree
1
1
Summary of content (1 pages)
PAGE 1