User`s manual
Manuals
Brands
Argox Manuals
Business equipment
F1
31
32
33
34
35
36
37
38
39
40
34
Figure 2
Figure 3
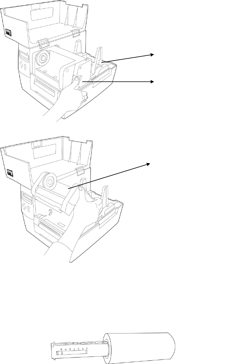
3.
Unwrap the ribbon roll pack and sep
a
rate the ribbon roll and the bare core.
4.
Attach the edge of the
ribbon
to
the bare core and wind a little bit onto the
core.
(F
igure 4 & 5)
Figure 4
R
elease Lev
er
Print Module
Media Compartm
ent
1
...
...
35
36
37
38
39
...
...
80