Datasheet
Manuals
Brands
APC Manuals
Consumer electronics
AR2901
21
22
23
24
25
26
27
28
29
30
Table Of Contents
Product Overview
Description
NetShelter VL Enclosures
Product Inventory
Components of the enclosure
Before Installation
Tools
Tools (provided)
Other tools required (not provided)
Unpacking
Unpacking the enclosure
Please recycle
Disclaimer
Verify the inventory
Moving the enclosure
Configuration
Installation
Installing the Enclosure
Leveling the enclosure
Rack stabilization options
Removing and Installing the Side Panels
Removing the side panels
Reinstalling the side panels
Removing and Installing the Roof
Removing the roof
Installing the roof
Removing and Installing the Doors
Removing the doors
Installing the doors
Reversing the front door
Vertical Mounting Flanges
Adjusting the vertical mounting flanges on the side braces
Installing Equipment
Identifying one U-space on the vertical mounting flange
Installing cage nuts
Removing cage nuts
Grounding
Cable Management
Rear cable channels (AR7501, not provided)
Cable management options
Joining Enclosures
Joining the Enclosures
Removing the Doors of Joined Enclosures
Specifications
600-mm, 42-U Enclosures
Five-Year Factory Warranty
Terms of warranty
Non-transferable warranty
Exclusions
Warranty claims
19
Net
Shelter
VL Enclosure—Unpacki
ng,
I
nstallat
ion, and Customizatio
n
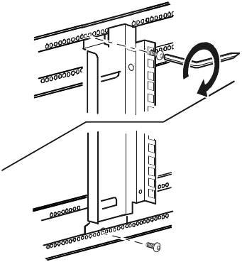
3.
When the
ver
tical mounting fl
ange is in the proper
location,
re-insta
ll
and t
ighten the T
orx sc
rews.
ns14
72a
1
...
...
21
22
23
24
25
...
...
35