Specifications
Table Of Contents
- General Information
- Component Identification
- Installation
- Warranty

25InRow Fluid Cooled RD Installation
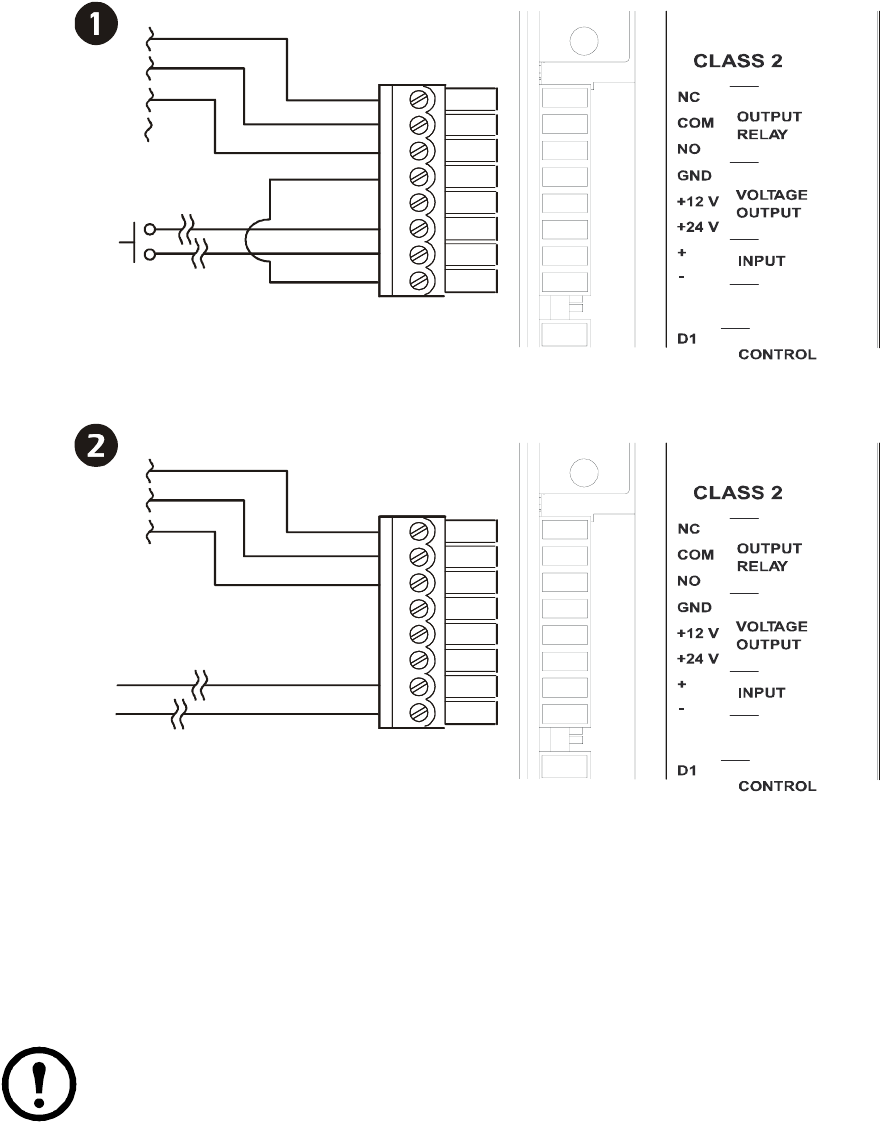
Form C alarm contacts and shutdown input
See items 6 through 13 in “User interface connections” on page 24. A relay internal to the user interface
is controlled by a user-defined alarm (for example, malfunctioning fans). Before an alarm condition, the
signal on the COM (common) terminal is routed to the NC (normally closed) terminal. When the alarm
is activated, the relay is energized, causing the signal on the COM terminal to be routed to the NO
(normally open) terminal. The NO and NC terminals could be connected to remote indicator lights, a
warning buzzer, or another device to alert an operator to the presence of an alarm condition.
A remote disconnect switch can be connected to the shutdown inputs as shown.
Note: Either +12 Vdc or +24 Vdc can be used to provide power to the remote disconnect
switch.
na2250a
+
_
Remote
disconnect
switch










