User guide

Table Of Contents
6 Rev. 5
Introduction
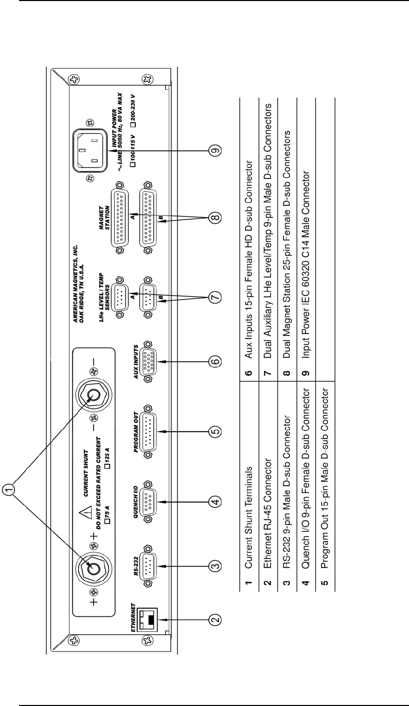
Model 430 Rear Panel Layout
1.3 Model 430 Rear Panel Layout
Table 1-2. Model 430 Resistive Shunt Version Rear Panel Description