Operation Manual

45
Technische Änderungen vorbehalten | 83053500kDE – Originalbetriebsanleitung | ait-deutschland GmbH
ASD
/1.15
E20
/1.15
VD1
/1.15
VD1-A1
/1.15
N-HDP
/1.15
N Reg
/1.15
PE
-X1
PE
-X10
N
N
PE N L
L
L
P
+-
b2 c4
a1
-F1
HDP
DI1
-X2
DI14
A1
A2
-Q1
VD1
OUT1
N
-K21
OUT3
OUT4
OUT5
A1
A2
-Q3
VENT
L..
-X4
L..
L..
B/
-X6
A
Green
Yellow
white
Brown
-K22
A/ B
ϑ
NT1
-X7
-R1
TSG1
GND
ϑ
NT2
-R2
TVD
GND
ϑ
NT3
-R3
TWE
GND
ϑ
NT4
-R4
THG
GND
NT9
-R9
CW
GND
ϑ
NT5
-R5
TSG2
GND
GND
-X8
I
P
12
-B10
HD
AIN1
GND
I
P
12
-B11
ND
AIN2
6
-X11
5 4 3 2
321
PE
1
12
/1.4
34
/1.4
56
/1.4
12
/1.7
34
/1.7
56
/1.7
HD
GND/LIN/12V
K21
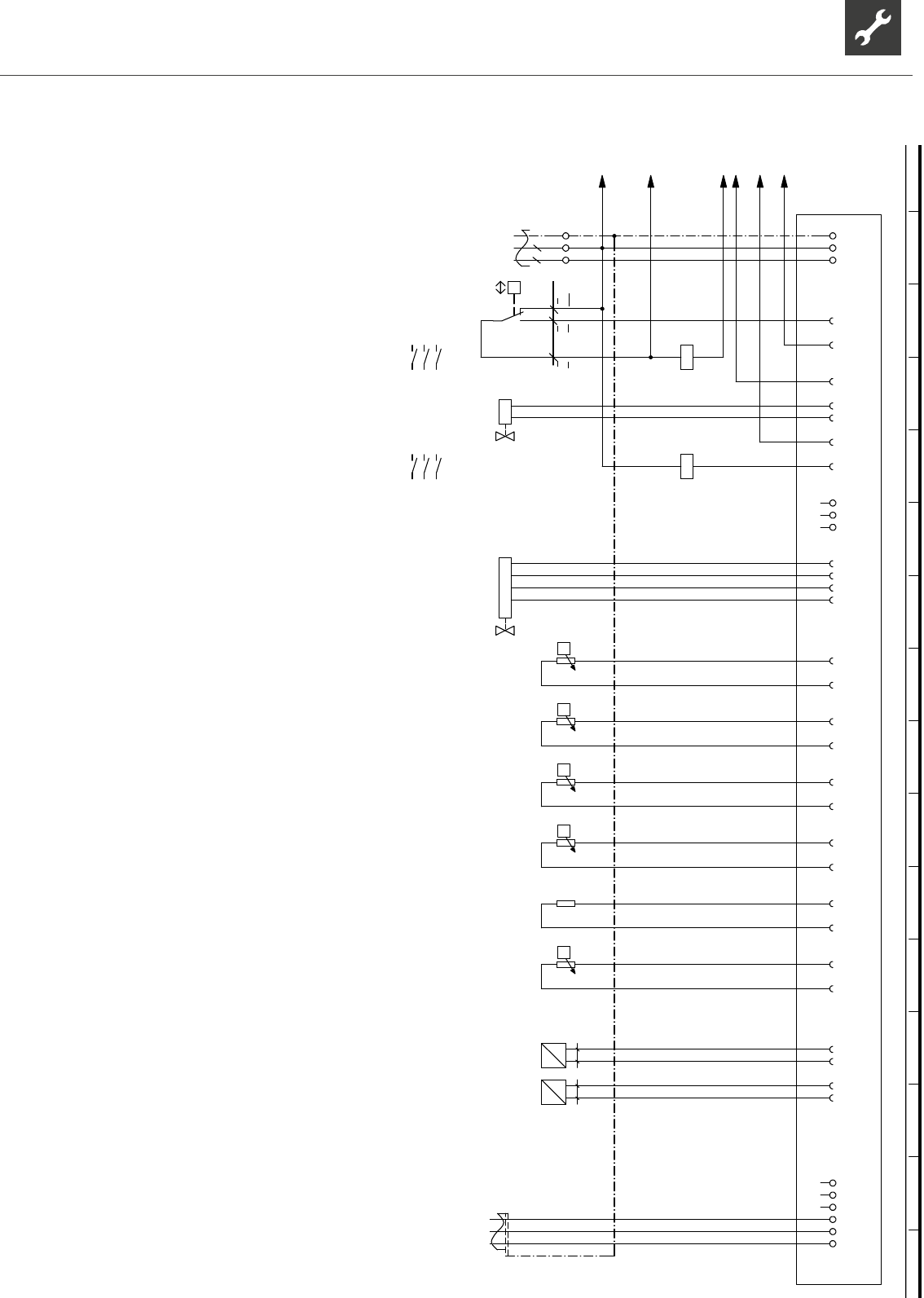
Hochdrucksensor
3
TSG1
230VAC
R2
R4
B10
-F1
Sumpfheizungsfühler
1~N/PE/230V/50Hz
VENT
-K20
F1
TWE
R9
R5
Hochdruckpressostat
Sauggasfühler Verdampfer
brbl
2
CW
LIN
1
Codier Widerstand 5KW 10kOhm; 7KW 10,5kOhm; 5KWrev. 14,7kOhm; 7KWrev. 15,4kOhm
2
TSG2
1
Heissgasfühler
TVD
X10
Abtauventil
R1
1~N/PE/230V/50Hz
Q1
B11 Niederdrucksensor
b
l
X10
s
w
Q3
DE817377b
Elektronisches Expansionsventil
Schütz Ventilator
Wärmequelle Eintrittsfühler
Steuerspannung --> Aus Hydraulikmodul
HDP
Schütz Verdichter
r
t
Legende:
K20
Funktion
THG
L,N,PE; Einspeisung Steuerung
2
VD1
ND
Reglerplatine; Achtung: I-max = 6A/230VAC
Betriebsmittel
K22
Sauggasfühler Verdichter
R3
1
Änderung
20.02.2014
PEP 003/2012
2
Datum
Bearb.
Blatt-Nr.
Achim Pfleger
10X601 - 10X602; 10X609;
10X605 - 10X606;
Zustand
a
2/2
Achim Pfleger 27.09.2010
LWD 50-90 / LWD 50-70 Reversibel
Datum
817377
Name
1 2 3 4 5 6 7 8 9 10 11 12 13 14 15 16
1 2 3 4 5 6 7 8 9 10 11 12 13 14 15 16
b ÄM 075/2013
Bl von Anz
Stromlaufplan 2/2 LWD 50A(RX) – LWD 70A(RX), LWD 90A










