Use and Care Manual
Manuals
Brands
AllSource Manuals
Abrasive + Sand Blasters
Allsource Monster Abrasive Blast Cabinet — 46in.
11
12
13
14
15
16
17
18
19
20
Page
19
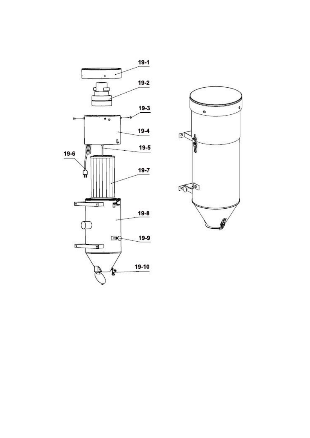
EXPLODE
D VIEW O
F DUST
COLLECTO
R
Parts Listing f
or dust colle
ctor
19
-1
TOP OF D
UST COLLE
CTOR
1
19
-2
VACUUM M
OTOR
–
40
287
1
19
-3
BOLT
4
19
-4
MOTOR COV
ER
1
19
-5
BOLT
1
19
-6
PO
WER CORD
1
19
-7
DUST FIL
TER - 415002
9
1
19
-8
ROUND
DUST COL
LECT
OR
1
19
-9
PUSH ROD
1
19
-
10
LATCH
3
1
...
...
18
19
20
21