User's Manual

24 Language Dictionary
Description Of Common Commands
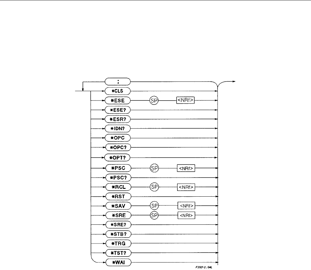
Figure 3-1 shows the common commands and queries. These commands are listed alphabetically in the dictionary. If a
command has a corresponding query that simply returns the data or status specified by the command, then both command
and query are included under the explanation for the command. If a query does not have a corresponding command or is
functionally different from the command, then the query is listed separately. The description for each common command or
query specifies any status registers affected. In order to make use of this information, you must refer to "Chapter 4 - Status
Reporting", which explains how to read specific register bits and use the information that they return.
Figure 3-1. Common Commands Syntax Diagram
*CLS
Meaning and Type
Clear Status Device Status
Description
This command causes the following actions (see "Chapter 4 - Status Reporting" for descriptions of all registers):
Clears the following registers:
Standard Event Status
Operation Status Event
Questionable Status Event
Status Byte
Clears the Error Queue