User manual

3. IZSTRĀDĀJUMA APRAKSTS
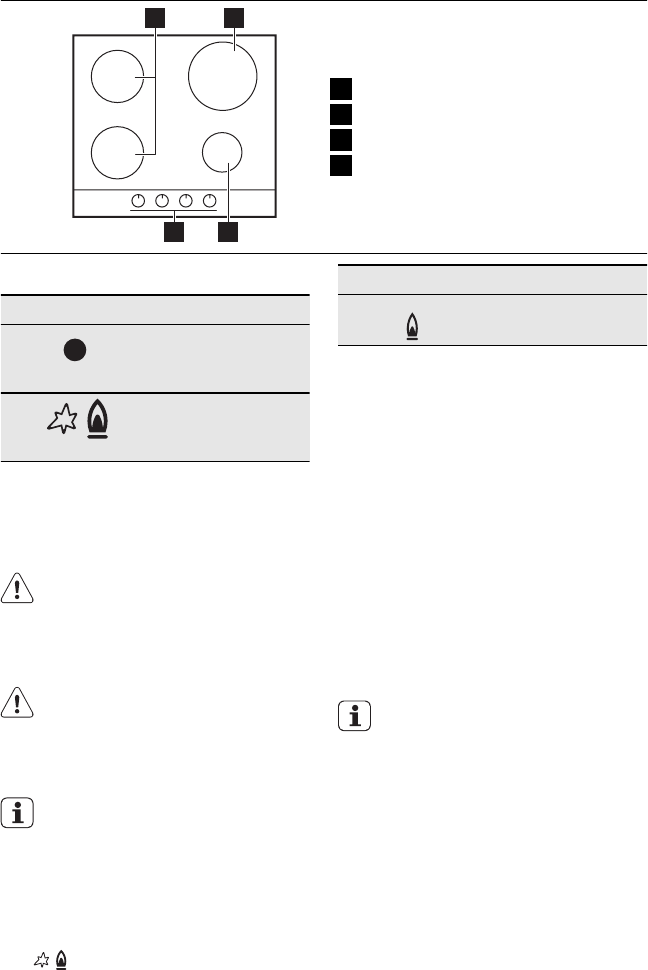
3.1 Plīts virsmas shēma
2
34
1
1
Vidējas jaudas deglis
2
Jaudīgs deglis
3
Papildu deglis
4
Vadības regulatori
3.2 Vadības regulatori
Simbols Apraksts
nav gāzes piegā‐
des / izslēgtā stā‐
voklī
aizdedzes stā‐
voklī / maksimāla
gāzes piegāde
Simbols Apraksts
minimāla gāzes
piegāde
4. IZMANTOŠANA IKDIENĀ
BRĪDINĀJUMS
Skatiet sadaļu par drošības norā‐
dījumiem.
4.1 Degļa aizdegšana
BRĪDINĀJUMS
Izmantojot atklātu liesmu virtuvē,
rīkojieties uzmanīgi. Ražotājs ne‐
uzņemas nekādu atbildību, ja
uguns tiek lietota neatbilstoši.
Vienmēr aizdedziet degli pirms
uzliekat uz tā ēdiena gatavoša‐
nas traukus.
Degļa aizdegšana:
1.
Pilnībā nospiediet plīts vadības regu‐
latoru un pagrieziet to līdz galam
pretēji pulksteņa rādītāja virzienam
.
2.
Turiet nospiestu vadības regulatoru
10 sekundes vai mazāk, lai termo‐
elements uzsiltu. Ja tas netiek izda‐
rīts, gāzes piegāde tiks pārtraukta.
3.
Noregulējiet liesmu, kad tā ir nosta‐
bilizējusies.
Ja pēc vairākiem mēģinājumiem
deglis neaizdegas, pārbaudiet,
vai degļa vainags un tā vāciņš ir
pareizā pozīcijā.
LATVIEŠU 35