- CITIZEN Dot Matrix Printer User's Manual

iDP-3410 User’s Manual
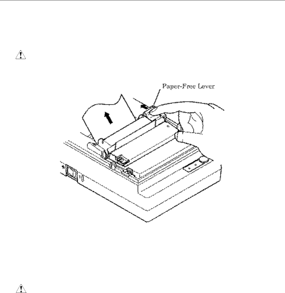
4.6 How to Remove Remaining Paper Roll
(1) Open the printer cover.
(2) Pushing the paper-free lever in the arrow direction, pull out the paper roll.
CAUTION : When pulling out the paper (Forward/Reverse direction), be sure to operate the paper-
free lever.
4.7 Removing Paper Jam
(1) Open the printer cover.
(2) Cut off the paper near the paper inlet slot.
(3) Push the paper-free lever in the arrow direction. The paper feed roller is disengaged, to free the paper,
allowing you to eliminate the jammed paper.
(4) Eliminate completely the paper remaining in the paper route.
CAUTION : • When pulling out the paper (Forward/Reverse direction), be sure to operate the
paper-free lever.










