Manual
Manuals
Brands
ACR Electronics Manuals
Boating Accessories
Nauticast Y1-03-0212
71
72
73
74
75
76
77
78
79
80
Table Of Contents
Y1-03-0212E Main Manual.pdf
Y1-03-0212E Appendix and Drawings.pdf
GPS Antenna mounting.PDF
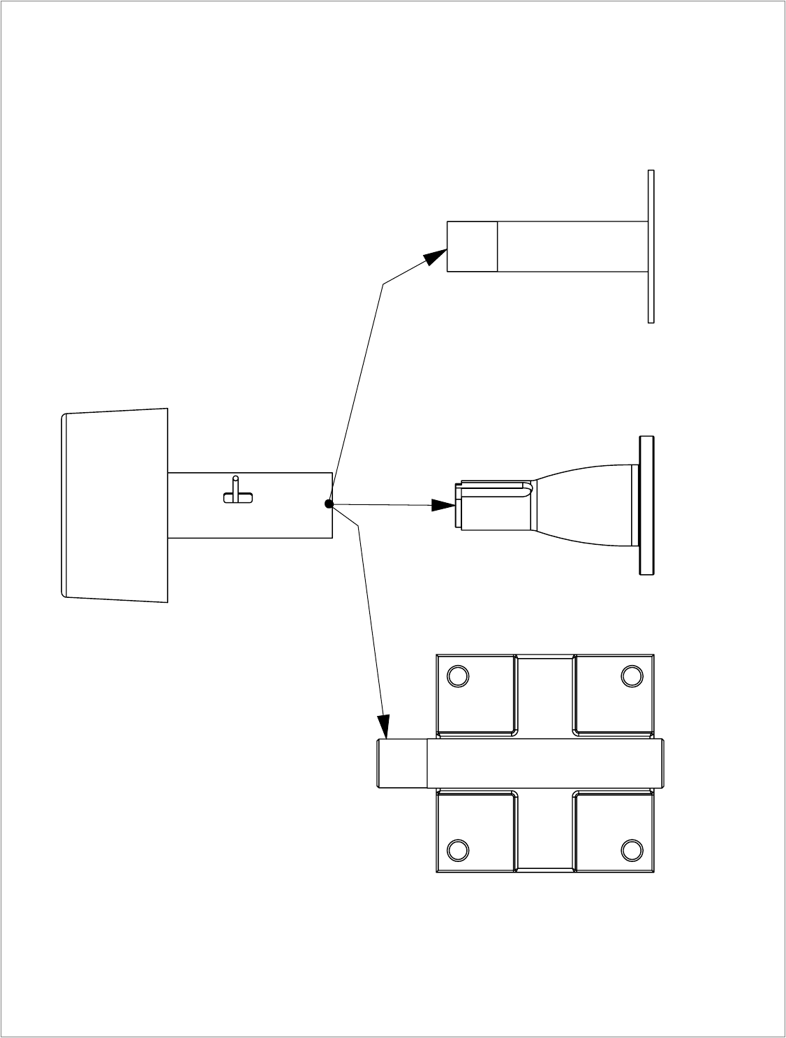
Sheet1
Drawing View1
STANTION OR
RAIL MOUNTING
METAL
DECK MOUNTING
PLASTIC
DECK MOUNTING
METAL
P/N: 2821
P/N: 2627
P/N: 2626
FOR SCREW PATTERN
DETAILS PLEASE SEE
THE PART NUMBER
DRAWINGS
GPS ANTENNA
P/N: 2637 OR
2639
OR
OR
MOUNTING OPTIONS FOR GPS ANTENNA
1
...
...
71
72
73
74
75
...
...
94