Owner manual
Table Of Contents

Compact Board PCM-5895 Rev.B
Appendix A Programming the Watchdog Timer A - 2
A.1 Programming
PCM-5895 Rev.B utilizes ITE 8712 chipset as its watchdog timer
controller. ( K version )
Below are the procedures to complete its configuration and the
AAEON intial watchdog timer program is also attached based on
which you can develop customized program to fit your application.
Configuring Sequence Description
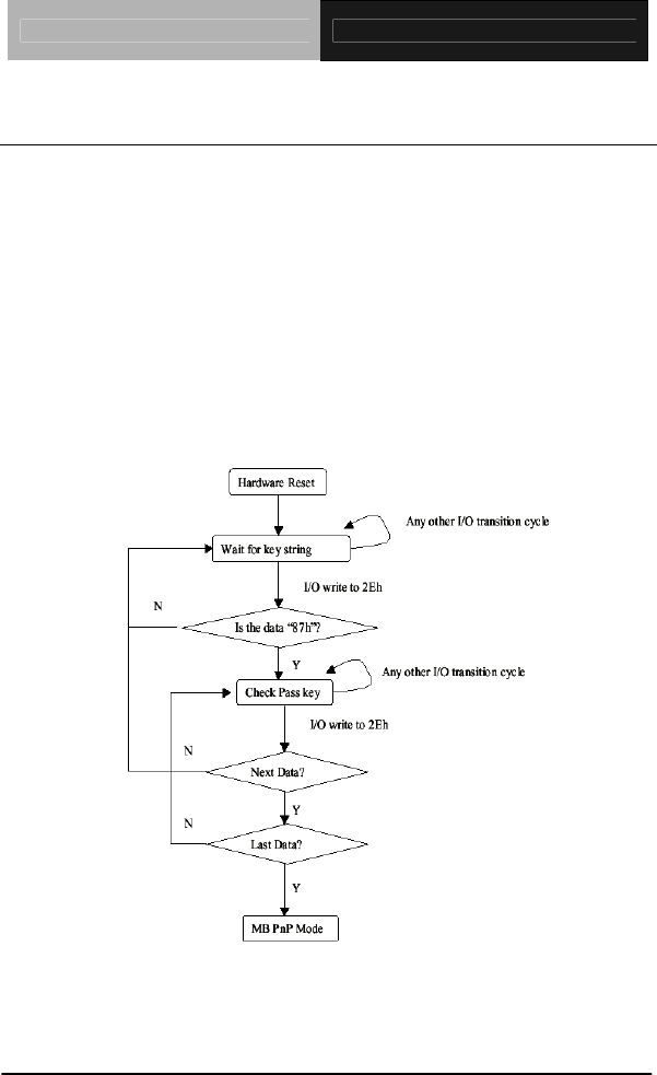
After the hardware reset or power-on reset, the ITE 8712 enters the
normal mode with all logical devices disabled except KBC.
There are three steps to complete the configuration setup: (1) Enter
the MB PnP Mode; (2) Modify the data of configuration registers; (3)
Exit the MB PnP Mode. Undesired result may occur if the MB PnP
Mode is not exited normally.










