
5
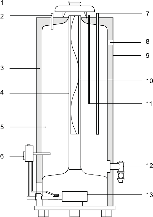
Afbeelding 1 - 
doorsnede toestel
1) Trekonderbreker
2) Warmwateruitlaat
3) Isolatiemateriaal
4) Vlampijp
5) Glasslined tank
6) Gasregelblok
7) Koudwaterinlaatpijp
8) T&P aansluiting
9) Staalmantel
10) Wervelstrip
11) Opofferingsanode
12) Aftapkraan
13) Atmosferische brander
AOS 0489